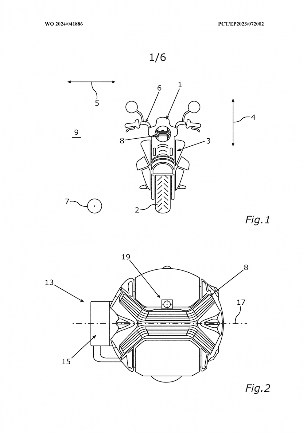
BMW sedang membangunkan sejenis sistem pemegang lampu utama untuk motosikal yang akan membantu mengekalkan paras pantulan pencahayaan semasa motosikal berkenaan berada dalam keadaan sendeng.
Inovasi itu terdedah menerusi satu dokumen paten yang difailkan BMW dengan menyatakan pengeluar itu sedang membangunkan satu sistem yang akan menggunakan umbal giroskop di bahagian depan motosikal untuk mengekalkan lampu utama sewaktu membelok.
Ini bertujuan memastikan penunggang dapat daya penglihatan lebih baik melalui pencahayaan lampu depan semasa membelok dan menambahbaik tahap keselamatan mereka.
Sistem gimbal BMW itu menggunakan dua peranti yang membantu memastikan lampu berada dalam keadaan stabil semasa membrek atau pecutan mengejut serta sewaktu miring atau membelok di kawasan selekoh.
Pengesanan sudut miring motosikal dibantu dengan sambungan gimbal kepada IMU motosikal dan gimbal akan bertindak balas bertentangan dengan maklumat belokan yang datang dari IMU.
SUMBER: VisorDown









