
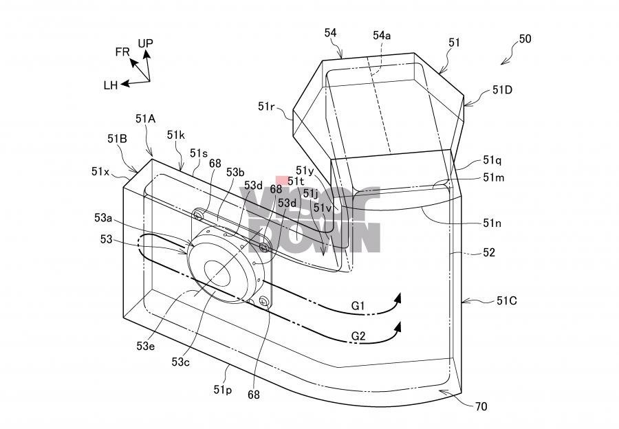
HONDA sebelum ini ada memfailkan paten sistem beg udara yang akan dipasang menegak di bahagian pemuka motosikal. Fungsinya masih sama seperti beg udara konvensional, iaitu gas termampat akan mengembungkan karung fabrik untuk melindungi penunggang daripada impak perlanggaran.
Namun, Honda tidak pula memperincikan jenis model yang akan dipasangkan beg udara tersebut. Namun, berdasarkan gambarajah paten, itu ialah model skuter maksi, PCX. Malah foto PCX dengan beg udara menegak pernah tular di media sosial sebagai model demonstrasi sejak 2017 lagi.
BACA >>> Honda Patenkan Beg Udara Vertikal untuk Motosikal
Sistem beg udara itu menggunakan beg udara kecil yang dipasangkan di bahagian konsol pemuka motosikal. Difahamkan kotak beg udara berkenaan dipasangkan terpisah dan diletakan di hendal kiri seperti dalam gambar. Beg udara tersebut mampu mengurangkan kecederaan kepala dan dada penunggang apabila berlaku perlanggaran dari depan.
Sebenarnya sebelum PCX, Honda memang sedia menawarkan ciri beg udara pada model tourer Gold Wing. Agaknya berapa pula harga PCX nant kalau sudah dipasangkan beg udara? Sebagai makluman, PCX di Malaysia dijual pada harga RM10,999
BACA >>> 10 Fakta Pantas: Honda PCX (2018) Baharu Kini di Malaysia – Harga RM10,999
GALERI
SUMBER: VisorDown
















