
HONDA baru saja mempatenkan sistem beg udara motosikal vertikal yang akan mengembang secara menegak untuk melindungi bahagian depan penunggang.
Sistem keselamatan itu beroperasi seperti beg udara konvensional kereta, iaitu gas dibebaskan untuk mengembangkan beg. Bagaimanapun, kaedah pemasangan mengikut gambarajah paten Honda itu adalah sesuatu yang belum pernah dilihat.
BACA >>> Hyundai Bangunkan Beg Udara Sisi Tengah Baharu
Idea memasang beg udara pada bahagian depan motosikal sebenarnya sudah lama wujud, hampir seusia penciptaan beg udara itu sendiri. Bagaimanapun, rata-rata jurutera dan pereka menghadapi masalah utama, iaitu kaedah memuatkan beg udara dalam motosikal menjadi satu pakej bersepadu.
Perlu diingatkan, motosikal tiada ruang besar untuk pemasangan beg udara berbanding kereta. Jika dalam kabin kereta, beg udara boleh dimuatkan dalam papan pemuka atau pilar depan atau sisi pemandu dan penumpang.
BACA >>> #TahukahAnda: Bagaimanakah Beg Udara Berfungsi, Benarkah Halang Pernafasan?
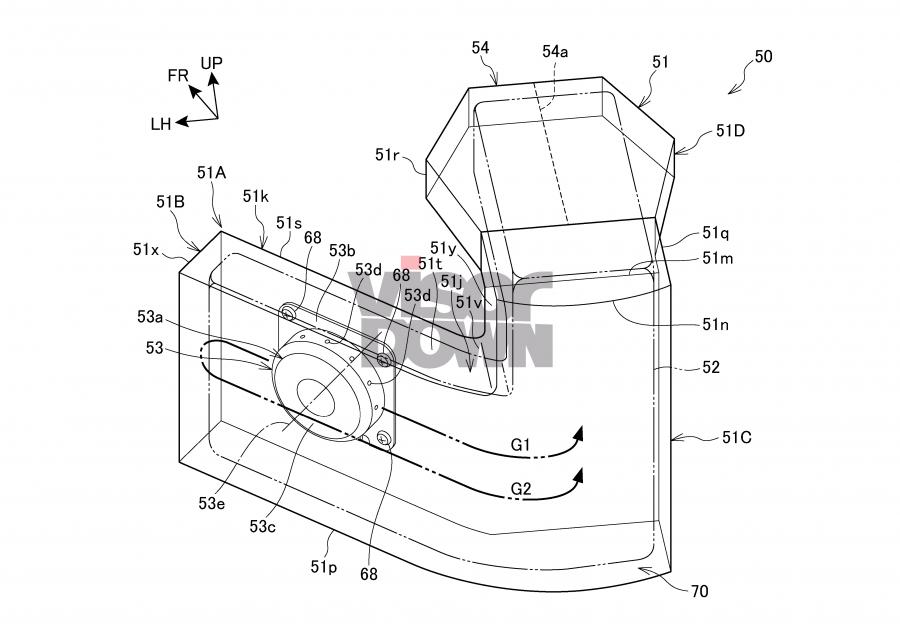
Namun, sistem keselamatan terbaharu Honda yang didaftarkan itu menunjukkan satu beg udara kompak dipasangkan pada panel depan badan motosikal.
Sistem itu menggunakan kanister khas yang tersimpan beg udara dan diikat pada sekeliling leher motosikal. Beg udara itu kemudian akan melindungi arah depan penunggang,terutama badan dan kepala, jika sensor mengesan berlaku perlanggaran.
Honda bukan asing dalam pembuatan beg udara motosikal. Pengeluar itu sebenarnya adalah peneraju sistem beg udara sebegini dan pernah mampakejkan ciri keselamatan tersebut pada model Gold Wing Tour DCT Airbag.
BACA >>> #EICMA2017: Honda Gold Wing (2018) dengan Beg Udara Tiba di Eropah
SUMBER: VisorDown










