
APRILIA memfailkan paten sistem penyejukan radiator yang lebih efisien.
Motosikal lumba atau harian biasanya menggunakan sistem penyejukan cecair dengan radiator ditempatkan di belakang roda yang berfungsi ‘menyerap’ udara dari depan. Udara itu kemudian digunakan untuk menyejukkan pendingin (coolant) yang mengalir dalam saluran radiator supaya enjin dapat disejukkan.
Namun, sistem tradisional itu memerlukan saiz radiator lebar kerana umumnya pada posisi tersebut pusuan udara ke radiator dihalang suspensi depan dan roda. Saiz radiator lebih lebar juga menyumbang kepada berat motosikal.
Justeru paten Aprilia terbaharu ini cuba menjadikan komponen pendinginan itu lebih efisien supaya udara dari depan dapat digunakan secekap mungkin untuk menyejukkan radiator.
BACA >>> Aleix Espargaro Sambung Kontrak dengan Aprilia Dua Musim Lagi, Sampai 2022
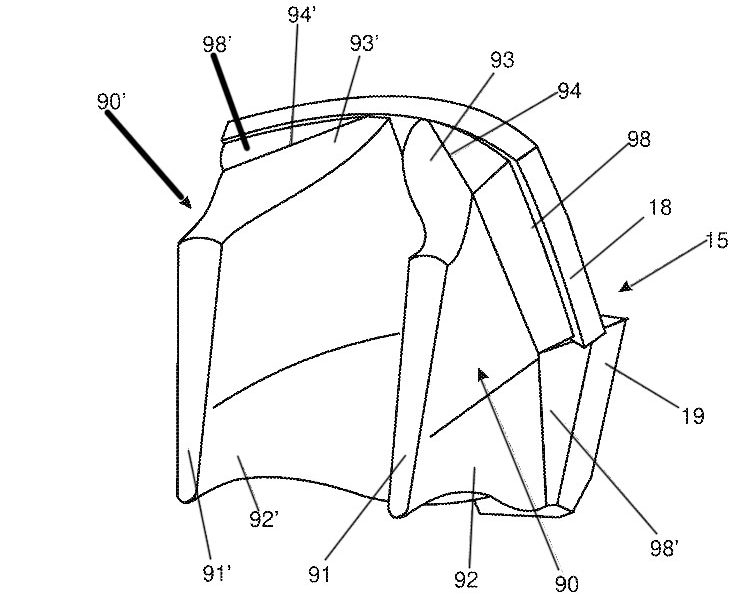
Berdasarkan gambarajah paten, Aprilia memasang ventilator udara di sisi kiri dan kanan tayar lengkap dengan skup ambilan (intake duct) khas yang terbuka ke depan. Jadi, udara yang masuk ke skup ambilan akan disalurkan ke radiator di belakang. Ini bermakna udara yang disedut dari depan tidak dihalang objek atau komponen seperti gerakan suspensi atau tayar.
Malah, Aprilia turut menghasilkan radiator khas untuk satu ambilan udara di sisi. Jadi jumlah radiator kini bertambah kepada dua unit dalam bentuk lebih kecil.
Namun, gambarajah rekaan lain tetap menampilkan satu unit radiator besar. Dengan rekaan skup udara khas ini, Aprilia berpendapat udara akan dapat disuapkan lebih efisien untuk menyejukkan coolant dalam radiator.
BACA >>> #ApaNakBuat: Bagaimanakah Cara Servis Radiator?
BACA >>> #TahukahAnda: Bagaimanakah Sistem Penyejukan Udara Bekerja?













1 Comment
Nampak mcm x banyak beza sangat kan? mungkin ada membantu, tapi saya rasa perbezaan nya amatlah kecil.
dan mungkin rekaan 2 radiator akan menambahkan kompleksiti kepada motor, harga dan kos penyelenggaraan mungkin naik.