
KAWASAKI Jepun sedang membangunkan dua model motosikal hibrid baharu selepas pengenalan sportbike Ninja 7 Hybrid dan naked bike Z7 Hybrid. Dua model baharu itu dipercayai jenis cruiser Eliminator dan touring Versys.
Perkara itu terdedah menerusi dokumen permohonan paten yang difailkan syarikat itu. Paten menunjukkan Kawasaki merancang membuat perubahan susun atur untuk menempatkan dua pakej trenkuasa dalam casis motosikal.
Untuk Ninja 7 Hybrid dan Z7 Hybrid, Kawasaki menyelesaikan masalah ruang itu dengan memasang bateri hibrid dan elektronik berkaitan di dalam sebuah kotak yang diposisikan di bawah tempat duduk penunggang.
Ini membolehkan Kawasaki mengekalkan tangki minyak dan kotak udara konvensional di atas enjin manakala motor elektrik yang memacu motosikal dalam mod hibrid dan elektrik penuh ditempatkan di atas sistem transmisi.
Untuk model Versys dan Eliminator, paten menunjukkan Kawasaki bercadang menggunakan enjin asal 451cc dwi-silinder selari dengan tambahan motor elektrik di atas kotak gear iaitu sama seperti Ninja 7 dan Z7 Hybrid.
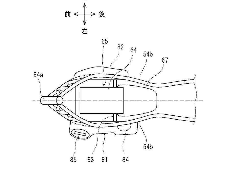
Bateri Versys dan Eliminator dipindahkan dari bawah pelana ke bahagian atas kepala silinder enjin dan kotak angin dipasang dibelakangnya. Ini membolehkan Eliminator mengekalkan sifat lebih rendah (low-slung) manakala Versys mendapat tambahan ruang untuk jarak travel suspensi lebih panjang.
Perubahan penting lain ialah komponen tangki minyak. Paten Eliminator Hybrid menunjukkan penggunaan dua tangki plastik (disambung menggunakan tiub) yang diikat di sebelah kiri dan kanan frem trelis. Versys hybrid pula menggunakan satu tangki minyak dan dipasang di atas bateri.
SUMBER: CarScoops











