
PORSCHE mempatenkan beg udara pilar-A untuk model konvertibel daripada Pejabat Tanda Dagang dan Paten Amerika Syarikat (USTPO). Berbanding kereta biasa, model jenis konvertibel atau bumbung terbuka tidak mempunyai bumbung tetap.
Sudah tentu kereta konvertibel tidak dapat menawarkan ciri keselamatan sama seperti kereta biasa dalam situasi kemalangan tertentu, termasuk impak kecil akibat tertindih. Jadi, Porsche mengambil inisiatif menghasilkan beg udara pilar-A yang mampu menjadi peranti keselamatan penting bagi menggantikan fungsi beg udara tirai pada kereta bumbung penuh.
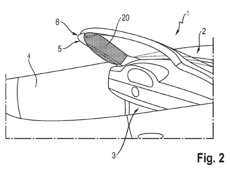
Diagram paten menunjukkan beg udara mengembung sepanjang pilar-A dan ujian dilakukan Porsche mengesahkan kewujudan peranti itu mampu mengurangkan impak ke atas penumpang yang tergerak ke depan atau tepi apabila berlanggar.
Nampaknya bukan model konvertibel saja mendapat manfaat beg udara pilar-A, rasanya semua kenderaan juga akan jadi lebih selamat dengan sistem sama yang digunakan.
SUMBER: Car Scoops









