
KAWASAKI dilaporkan memfailkan dokumen paten aplikasi sistem kamera untuk menambah baik ciri teknologi bantuan tunggangan pada model generasi baharu Ninja H2 SX (2022).
Sistem kamera itu dijangka digunakan sebagai pelengkap kepada sensor radar sedia ada. Ninja H2 SX ketika ini dilengkapi pelbagai sensor seperti dua unit untuk ciri kawalan jelajah adaptif (ACC) dan amaran risiko pelanggaraan di depan.
BACA >>> Kawasaki Patenkan Teknologi Kawalan Jelajah Adaptif (ACC) untuk Motosikal
Sensor belakang berfungsi sebagai pemantau titik buta (BSM) untuk mengurangkan risiko perlanggaran atau kemalangan. Sistem radar Kawasaki direka kemas kerana sensor disorok di belakang panel berbanding model pesaing lain.
Radar mampu mengesan objek pada malam atau cuaca buruk, tetapi masih dianggap solusi tidak lengkap kerana masih gagal mengecam warna, cahaya atau maklumat terperinci. Idea penggunaan kamera yang dapat disambungkan kepada sejumlah teknologi termaju sebenarnya sudah banyak digunakan kereta moden. Kawasaki dikatakan mahu mengikuti cara sama untuk model motosikal.
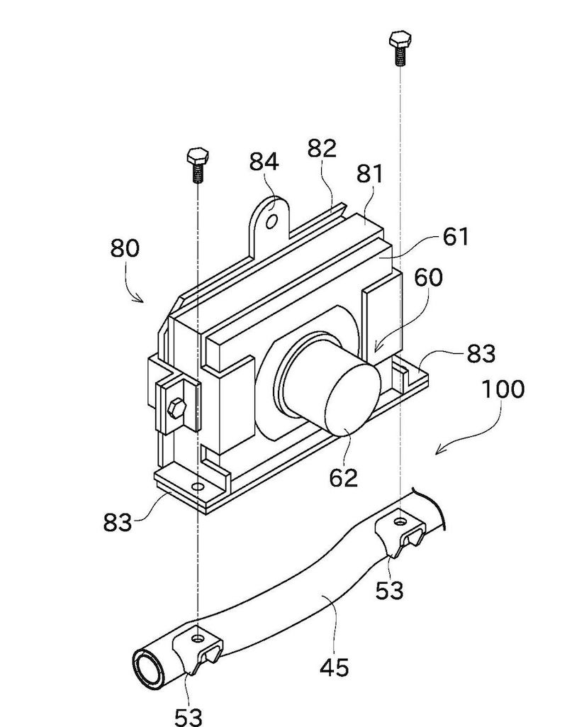
Menurut laporan, Kawasaki memfailkan paten pemasangan kamera depan, terutama membabitkan model terbaharu Ninja H2 SX. Kamera akan dipasang di sebalik visor angin dengan platform direka sendiri, iaitu atas bar hendal dekat bahagian pengemudian (nombor 53 pada foto paten).
BACA >>> Syarikat Korea Bangunkan Teknologi Biometrik untuk Elak Kes Curi Motosikal di Lot Parkir
Kira-kira setahun lalu, tular foto intip prototaip Ninja H2 SX menggunakan sistem kamera sama yang kelihatan di sebalik visor angin sebagai petanda awal sistem itu pernah diuji.
Ada beberapa teori dikemukakan, iaitu sistem kamera tersebut boleh disepadukan dengan lampu utama. Kamera mungkin secara automatik mampu mengubah suluhan lampu tinggi kepada rendah apabila jika mengesan kehadiran kenderaan dari arah depan.
Jika berjaya, sebuah motosikal dengan lampu depan adaptif LED kompleks seperti digunakan kereta moden masa kini bakal jadi kenyataan.
Teori kedua sistem pemantau baharu untuk Sistem Bantuan Penunggang Termaju (Advanced Rider Assistance Systems – ARAS).
ARAS berfungsi menyeragamkan ciri ACC, pengesan pelanggaran dan BSM. Sistem kamera pula membantu sistem radar untuk menjadikan sistem mitigasi pelanggaran lebih cekap.
Contohnya, sensor berupaya mengenal pasti halangan seperti kenderaan atau pejalan kaki, dan membrek automatik kerana sistem kamera mampu mengecam lampu brek kenderaan di depan.
Sistem kamera juga boleh membaca papan tanda amaran atau peringatan, sekali gus mengingatkan penunggang mengenai had laju atau melaraskan halaju ACC. Malah motosikal juga berupaya mengecam lampu isyarat merah atau hijau. Memang pintar!
BACA >>> Kawasaki ZX-10R, ZX-10RR (2021) Lancar dengan Gaya, Ciri dan Bantuan Elektronik Baharu
BACA >>> Motosikal Elektrik Honda Masa Depan Akan Pasang Dron
BACA >>> Honda Bangunkan Sistem Radar Belakang untuk Goldwing
SUMBER: CycleWorld











