
KAWASAKI baru saja mendedahkan sportbike suku liter 4-silinder, ZX-25R sempena acara Pameran Motor Tokyo (TMS) 2019 pada Oktober lalu. Bagaimanapun, tidak banyak maklumat didedahkan Kawasaki, terutama perincian enjin yang masih disimpan rapi pengeluar dari Jepun itu.
Selain platform enjin 4-silinder, apa yang menarik tentang ZX-25R ialah saluran ram udara pada fairing kepala. Sebelum ini, Honda CBR 250RR juga menggunakan saluran ram udara dengan dua inlet tersembunyi di bawah fairing yang tidak didedahkan secara jelas.
Namun bagi ZX-25R, kita dapat lihat jelas kehadiran ram udara kerana ia terletak atas lampu depan dalam bentuk lubang V besar, mirip ram udara ZX-6R.

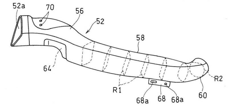
Berdasarkan gambarajah paten di atas pula, bermula muncung depan, hanya ada satu salur udara kelihatan yang diarahkan ke kiri enjin. Ia melengkung sepanjang dalaman fairing dan masuk di celahan casis trellis sebelum memasuki kotak penapis udara pada bahagian tangki minyak.
Meletakkan kotak penapis udara atas kepala silinder memang praktikal untuk mengalirkan udara masuk ke badan terotel (throttle body) dengan cara alir turun (downdraft), dan diuji berkesan meningkatkan prestasi enjin.
BACA >>> #TMS2019: Kawasaki Dedah Ninja ZX-25R, Sportbike Suku Liter Paling Berkuasa!
APAKAH RAM UDARA?
Dalam bahasa mudah, ram udara adalah sistem ambilan yang menggunakan tekanan udara dinamik dan terhasil daripada pergerakan motosikal.
Ram udara dapat menambah tekanan udara statik ke atas manifold ambilan daripada pembakaran dalaman yang membuatkan udara padat masuk ke dalam enjin, sekali gus meningkatkan kuasa. Jika mahu tahu perbezaannya, cuba tunggang uji motosikal anda pada sebelah siang dan malam. Situasi mana satu lebih seronok ditunggang?
Jika menunggang malam, kuasa enjin lebih padu apabila terotel dipulas. Ini kerana suhu rendah (malam hari) membuatkan udara jadi rapat, padat dan berketumpatan tinggi. Sebaliknya, suhu tinggi pula menyebabkan udara jadi mengembang atau merenggang.
Tetapi apa kaitan pula dengan ram udara?
BACA >>> Perbandingan Awal: Kawasaki Ninja ZX-25R (Baru) vs ZX-2R (Lama)
APAKAH FUNGSI RAM UDARA?

Sistem ram udara akan memadatkan udara yang masuk ke kebuk pembakaran menerusi penapis udara. Ini menyumbang kepada prestasi enjin yang lebih baik. Bagaimanapun, terdapat perbezaan rekabentuk antara ram udara Ninja ZX-25R dan CBR 250RR.
Rekabentuk Kawasaki nampak lebih lega dengan lekuk lebih landai. Lekuk salur udara ram yang direka tajam berisiko menyusutkan potensi kuasa enjin. Dalam konsep mekanikal, bendalir boleh hilang tekanan jika mengalir melalui paip berbelok dengan bentuk sudut tertentu.
Makin besar sudut lekuk, maka tekanan akan jadi semakin hilang. Bagi kes ram udara ZX-25R, rekabentuk sudut tidak terlalu banyak lekuk maut (sudut sempit). Sebabnya, lekuk sempit akan mengubah pekali dan menyebabkan masalah hilang tekanan kerana sudut lekukan paip lebih besar.
Apabila tekanan udara yang masuk lebih besar, ini membuatkan kuasa lebih power!
BACA >>> Honda CBR250RR Kini Di Jepun, Harga Bermula RM29,000 – Bila Nak Masuk Malaysia?
VIDEO
SUMBER: TMCBlog














