
FORD memfailkan paten transmisi manual baharu yang disambungkan secara elektronik dengan pedal klac robotik untuk dijadikan pilihan kepada pemandu sama ada mahu menggunakan pedal klac atau tidak.
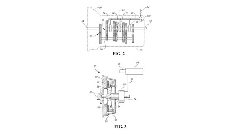
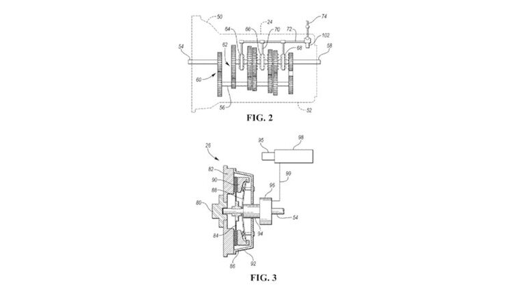
Ciptaan baharu itu dilaporkan portal Muscle Cars & Trucks sebagai sistem klac elektronik canggih dengan gabungan tombol gear konvensional untuk menukar transmisi.

Justeru pemandu boleh memilih menggunakan pedal klac dengan sambungan dengan-wayar (by-wire) atau biarkan komputer menentukan penggunaan klac.
Kaedah operasi itu sama seperti teknologi Autostick Volkswagen yang menggunakan bantuan aktuasi vakum (vacuum actuation) dan konvertor tork untuk membolehkan enjin melahu ketika tidak bergerak. Bezanya, sistem manual Ford akan memisahkan klac.
BACA >>> #Videotomotif: Bagaimana Transmisi Automatik dan Manual Bekerja?
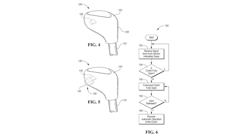
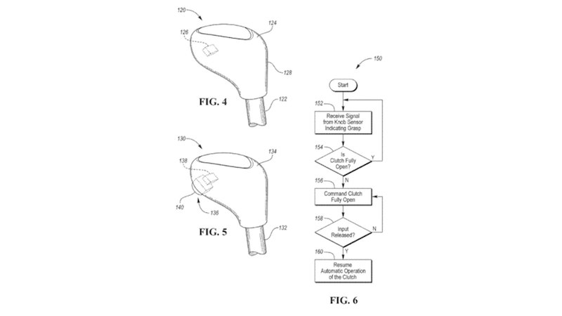
Foto paten juga mendedahkan metod klac mungkin dikawal progresif menerusi sensor yang dipasangkan dalam grip tangan tombol gear.
Rekabentuk itu berbeza dengan transmisi klac kembar (DCT) automasi yang digunakan kebanyakan pengeluar seperti Hyundai Venue (ada tombol gear dan klac elektronik tanpa pedal).
BACA >>> #TahukahAnda: 3 Punca Klac Manual Cepat Rosak, Tetapi Pemandu Jarang Perasan
BACA >>> Lakukan 5 Tabiat Ini Jika Mahu Transmisi Dual-Klac (DCT) Anda Rosak
BACA >>> #TahukahAnda: Kenapa Perlu Pedal Syif Walaupun Gear Auto Kini Serba Pintar, Pantas?
BACA >>> #TahukahAnda: Apakah Kegunaan Gear Rendah dalam Kereta Transmisi Automatik?
SUMBER: FoxNews









