
BMW Motorrad bukan sekadar mahu membangunkan motosikal elektrik, Vision, tetapi juga bakal menghasilkan model hibrid, menurut dokumen paten yang bocor baru-baru ini.
Kereta dengan kombinasi enjin konvensional dan motor elektrik itu sudah terbukti berkesan. Sebaliknya idea sama tidak berapa serasi dengan arkitektur motosikal.
Atas kertas memang nampak seperti idea menarik. Bayangkan motosikal dengan sistem hibrid mampu menawarkan tork tinggi dalam halaju rendah dan operasi enjin lebih senyap serta penggunaan bahan api menjimatkan, sekali gus memudahkan tunggangan dalam bandar.
BACA >>> Cukai Kenderaan Ikut Kadar Pelepasan Emisi, Motosikal Hibrid Bakal Laris di Thailand
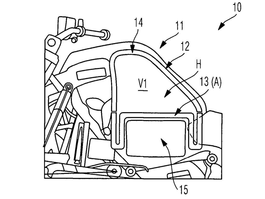
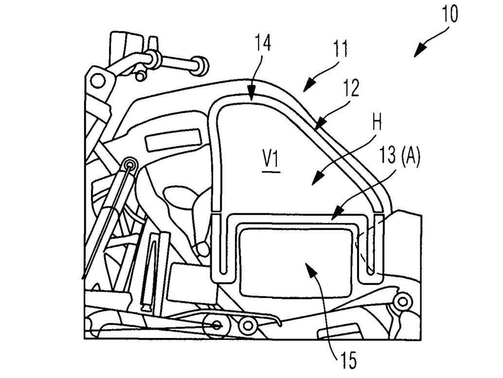
Namun, cabaran utama yang perlu diatasi ialah kompartmen bateri kerana kereta memiliki ruang but yang luas.
Jadi, bagi menyelesaikan masalah itu, BMW hadir dengan idea kit tambahan. Berdasarkan lakaran, BMW mengorbankan ruang tangki minyak dengan meletakkan bateri di bawahnya. Ruang bateri itu dibuat daripada material getah yang boleh dilihat menerusi gambarajah label 15.
Walaupun saiz tangki minyak dikurangkan, tetapi motosikal hibrid ini menawarkan kuasa tambahan elektrik yang boleh digunakan untuk tunggangan jarak dekat.
Permohonan paten baharu itu tidak memperincikan tentang sistem hibrid yang akan dibangunkan. Namun BMW pernah memberikan isyarat tentang bakal kemunculan motosikal hibrid jenama itu menerusi model prototaip X2 pada 2015.
BACA >>> Honda Patenkan Winglet Cermin Sisi untuk CBR1000RR
SUMBER: Cycleworld









