
BMW memfailkan dua paten baharu sistem perlindungan untuk komponen lampu signal belok ketika menunggang, khususnya di laluan off-road dan trek.
Paten pertama ialah lampu signal belok boleh lipat pada braket dengan pemegang nombor plat belakang mirip model superbike BMW S 1000 RR.
Lakaran paten sistem pertama di atas menunjukkan lampu signal belok boleh dilaras 2-tetapan iaitu dilipat untuk tutup atau dibuka seperti biasa.
Lazimnya, pemegang nombor plat konvensional didatangkan dengan lampu signal belok statik jenis capang. Bagaimanapun, komponen itu berdepan risiko rosak atau patah jika penunggang terjatuh.
Paten menunjukkan ada dua pin di bahagian tapak yang membolehkan lampu signal belok itu dilipat secara manual ke arah hadapan. Lihat foto di bawah ini:
Untuk memastikan penunggang motosikal tidak menyalah guna ciri itu di jalan raya, jurutera BMW melengkapkan sistem mekanisme tersebut dengan satu sambungan tirus (rujuk foto atas kanan, 19a) pada lampu signal belok.
Sambungan tirus itu hanya membenarkan lampu signal belok dilipat atau tersorok jika motosikal tidak dipasang nombor plat.
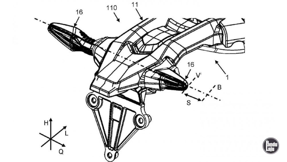
Paten kedua pula menggunakan mekanisme rel iaitu lampu signal belok boleh ditolak ke dalam pemegang nombor plat. Kaedah ini disifatkan lebih baik kerana sebahagian lampu signal belok masih boleh dilihat. Foto di atas menunjukkan sistem tersebut.
BACA >>> Polis Tahan Suspek Tumbuk Pemandu Tegur Tidak Beri Signal Belok di Labuan
BACA >>> #TahukahAnda: Kenapa Lampu Signal Belok Tetiba Berkelip Laju?
SUMBER: Motociclismo











